Acorn Computers Limited, 4a Market Hill, Cambridge CB2 3NJ, England, Telephone 0223 312772

		 ATOM TECHNICAL MANUAL	
	 Introduction                      page   3

	 Construction Procedure            page   4
            Parts List                     page   6
            Layout Diagrams                page   8
            T.V./Video Monitor             page   13
            Power Supply                   page   13
            Switching On                   page   14
            Tape Recorder                  page   14
            Output Ports	           page   15

	 Circuit Description		   page   16

	 Block Diagram	                   page	  18

	 Memory Map	                   page   20

	 Expanding the ATOM                page   21
            Lower Text Space Extension     page   21
            Video Graphics Extension       page   21
            Floating Point Extension       page   22
            Uersatile Interface Adapter    page   22
            Printer Interface              page   23
            Bus Buffers                    page   23
            Eurocard Extension             page   23
            Other Extensions               page   23

              c  Copyright Acorn Computers Ltd  1980.	
		                            Issue 2 October 1980.

                                                                      1

INTRODUCTION The Acorn ATOM microcomputer is available as a kit of parts for assembly by the user, or as an assembled and tested unit. Many different extensions may be added to the basic ATOM including further memory for user programs or high resolution graphics, an interEace to a printer, and the extension ROM which provides floating-point arithmetic and the COLOUR statement. This technical manual contains the information needed in order to construct the ATOM kit and add any of the extensions. Use of the ATOM is described in the book 'Atomic Theory and Practice' and users with assembled and tested ATOMs may not need to refer to this manual. When purchased directly from Acorn Computers Ltd the assembled and tested ATOM is guaranteed for a full six months if used correctly. The componenent parts of kits are also guaranteed for six months and a fast service facility for assembled kits is available at Cambridge. In general repairs at Cambridge are carried out within two weeks and they are invoiced at around ten pounds plus the cost of any replacement components for ATOMs over six months old. The ATOM is compatible with the Acorn series Eurocards for the 6502 micro-processor and it can be extended by adding one card inside the ATOM case, or any number of cards in an external card frame. Connection to the cards is by a standard Acorn bus connector, and this is described in this manual. The ATOM can therefore be used to develop programs for later use on larger computer systems, for data acquisition and control purposes, and as a personal computer. One significant aspect of the ATOM is its capacity for expansion, first by adding further components to the circuit board and then by adding extra boards within the case. One extension allows connection of the ATOM to the Acorn ring whereby a number of computers can communicate and share peripheral devices such as disk drives, platters, and printers. In this manual the addition of the standard extensions is described. 3
CONSTRUCTION PROCEDURE BEFORE YOU START Carefully unpack the ATOM kit and check that all the component parts are present. ard that none are damaged. In case of supply difficulties substitute components may be supplied; for instance 100nF capacitors may replace 47nF parts. For capacitors note that values may be expressed in two ways: O.1uF = 100nF 10nF = 10000pF 1nF = 1000pF O.1nF = 100pF etc. Capacitors supplied with Acorn products are usually identified by a three digit number, the first two digits being the first two digits of the value followed by a third digit giving the number of zeros. For example: 101 is 10 and one zero which is 100pF. 103 is 10 and three zeros which is 10000pF or 10nF. 473 is 47 and three zeros which is 47nF or 0.047uF. Resistors are identified by coloured bands of which three at one end give the value with a fourth giving the components tolerance: Resistor value The first and second bands give the first two digits of the value with the third indicating the number of following zeros: Black is 0 Brown is 1 Red is 2 Orange is 3 Yellow is 4 Green is 5 Blue is 6 Violet is 7 Grey is 8 White is 9 For example consider a resistor with the coloured bands Yellow, Violet, Orange, space, Silver. This is 47 followed by three zeros, that is 47000 or 47K ohms. When writing the value of a resistor note that 4.7 Kohms is usually written 4K7, and 270 ohms as 270R. The fourth band identifies the tolerance as follows: 4
Red is +or-2% Gold is +or-5% Silver is +or-10% Any of these may be used with the ATOM. SOLDERING TECHNIQUE Assembling the ATOM will require a considerable amount of soldering and a small electric soldering iron is essential. The iron should be rated between 10 and 30 Watts with a diameter at the end of the bit not exceeding 0.1 inches. Fine 22-gauge flux cored solder should be used. People with no previous experience of this type of work should not attempt the ATOM assembly without assistance. When soldering make sure that the component is well pushed on to the board as shown, use a minimum of solder, and once the solder has run remove the iron. Solder joint Some of the integrated circuits used in the ATOM employ M.O.S. technology and they can be damaged by static electricity. As a general rule if there is no noticeable static charge in the area and no nylon clothes or carpets are present all will be well. An earthed soldering iron should be used when working on a board carrying M.O.S. circuits. The ATOM printed circuit board is double sided, through-hole plated glass fibre. A layer of green solder resist ensures that accidental solder splashes do not short out tracks and a white component legend clearly in8icates where each part goes. Examine the board for faults or damage before commencing work. Do not solder through holes on the board connecting tracks from one side to the other without a component in them as they may be damaged; in any case these holes should have solder resist over them. 5
PARTS LIST Parts supplied with the basic ATOM kit are as follow IC6 74LS138 TTL Decoder. IC7 74LS02 TTL NOR Gate. IC8 74LS00 TTL NAND Gate. IC9 74LS04 TTL Inverter IC20 MM52164 Read Only Memory. IC22 6502-1MHz. Micro-Processor. IC23 74LS138 TTL Decoder. IC25 INS8255 Peripheral Interface. IC26 7445 TTL Decoder/Driver. IC27 81LS95 TTL Buffer. IC28 81LS95 TTL Buffer. IC29 DP8304 TTL Transceiver. IC30 74LS138 TTL Decoder. IC31 6847 Video Display Generator. IC42 2114 Random Access Memory. IC43 2114 Random Access Memory. IC44 74LS393 TTL Counter. IC45 74LS04 TTL Inverter. IC46 LM358 Operational Amplifier. IC47 74LS163 TTL Counter. IC48 74LS00 TTL NAND Gate. IC49 74LS139 TTL Decoder. IC51 2114 Random Access Memory. IC52 2114 Random Access Memory. IC53 LM340T-5 Voltage Regulator. IC54 LM340T-5 Voltage Regulator. R1 4K7 R26 470R R2 4K7 R27 470R R3 470R R28 470R R4 470R R29 4K7 R5 470R R30 1K R6 75 or 82R R31 4K7 R7 8K2 R32 4K7 R8 3K3 R33 47K R9 1K R34 47K R10 270R R35 470K R11 3K9 R36 4K7 R12 470R R37 10K R13-16 4 off 4K7 R38 1K R17-25 9 off 4K7 R39-41 3 off 4K7 All of these resistors may be 0.25 or 0.33 Watt components with a tolerance of 5 or 10%. Cl 10nF C8 22uF * C2 22uF * C9 22 or 47nF C3 22uF * C10 10nF C4 22uF * Cll 10uF * C5 22uF * C12 22uF * C6 10nF C13 22uF * C7 47 or 100nF C14-28 15 off 47nF The electrolytic capacitors (marked *) may be replaced by any value in the range 10 to 47uF. They should be rated at 10 volts or 6
greater. Other parts supplied with the basic ATOM kit include: Injection Moulded Case. Printed Circuit Board 202,000 Four short and two ling self-tapping screws. Self-adhesive key surround. Four stick-on feet. Key Assembly and fixing screws. Xl 3.58MHz crystal. X2 4.00MHz crystal. Ll 1mB choke. SK1 UHF Modulator. SK2 7 pin DIN socket. SK3 Power socket. Q1,2 2 npn transistors type BC107 or 184,237,239 Loudspeaker,adhesive pad and wire. Loudspeaker Baffle. Nut and screw for Regulator. Heat sink. 52 sockets for the complete set of Integrated Circuits as follows. 1 off 8 pin 7 off 14 pin 6 off 16 pin 24 off 18 pin 7 off 20 pin 3 off 24 pin 4 off 40 pin The remainder of the components required for the extensions are listed in the appropriate sections later on. IMPORTANT NOTE The ATOM printed circuit board is double sided with the sides being identified by the legends "SIDE 1" and "SIDE 2". All the IC sockets, the connectors PL/SK 1 to 7 and the passive components are mounted on side 2 and they are therefore soldered on side 1. PL 8 and the keyboard are mounted on side 1 and soldered on side 2. The component layout diagram is a view of the circuit board from side 2 and it will assist in identifying components whose legend is obscured on the board itself. Read through the following instructions and then assemble the ATOM step by step. LINKS Several links may be fitted to the PCB to cater for different requirements. None of the links need o be fitted for a minimal-configuration ATOM powered by an ATOM mains adaptor. 7
Side 2 layout 8 9
INTEGRATED CIRCUIT SOCKETS The sockets supplied with the ATOM are fitted to the circuit board in the locations for the ICs provided. Sockets are mounted on side 2 of the board and they are then soldered on side 1. Fit the sockets the right way round with pin 1 in the position identified on the circuit board as shown: Intergrated circuit sockets Pin 1 of the socket is identified by a chamfer or cut out as shown. Fit the sockets one at a time and ensure that they are pressed fully down with no pins bent under them. First solder two diagonally opposite pins and check that the socket is correctly fitted before soldering the remainder of the pins. There is no need to cut off the excess of the pins on side 1 of the board. PASSIVE COMPONENTS The passive components, that is the resistors and capacitors, are ifitted next. Each resistor and capacitor position is marked on side 2 of the circuit board with a legend ie R7 or C12 and a line showing the two holes through which the leads pass. Identify each component from the parts list and bend its leads as shown before mounting it on side 2 of the board with the leads poking through to side 1. Solder the leads on side 1 and cut off any excess. The electrolytic capacitors are polarised and the positive ends of them must be towards the + sign on the board. Some electrolytics have an arrow or a band round them indicatinq the negative end and this must point or be away from the + sign. The 1mH choke is fitted in position Ll. Passive components KEYBOARD The ATOM may already have its keyboard fitted; if not then proceed as follows. Carefully remove the key assembly from its protective backing and lay it key-top side down with the leads sticking upwards. Check that all of the leads are straight and correct any that are bent over. Taking great care not to bend any of the leads position the circuit board over the key assembly such that the keys will be on side 10
1 of the board, that is the side opposite to the ICs and passives etc . Lower the circuit board over the key leads so that they poke through the holes in the circuit board and then move the two parts until the fixing screw holes are aligned. Ensure that ALL of the key leads poke through the circuit board. Then fix the keyboard to the PCB using six self-tappinq screws with insulating washers to ensure that they do not short out the PCB tracks. Solder each key lead on to the side of the large plated through-holes in the circuit board pushing the leads over to the side of the hole where necessary. Do NOT fill the holes with solder; when the solder cools it may contract and break the plated-through connection. L3o not allow blobs of solder to fall through the holes into the keys. CONNECTORS The power jack socket and the D.I.N. socket for the tape recorder are mounted on side 2 of the board and soldered on side 1. The power socket, SK3, has two lugs which are soldered into the board and the third connection is made with a short piece of wire, such as an offcut from a resistor. SK2 is a 7 pin socket which is held by a spring clip through two holes near the front of the board and by the seven soldered leads. Plugs PL4, PL5, PL6, PL7, and PL8 are not required on the minimum configuration ATOM. LOUDSPEAKER Fix the loudspeaker to side 1 of the board to the right of the keyboard using a double-sided sticky pad. Connect it to the two marked holes beside C5 using twin-cored wire and press the baffle over the loudspeaker. MODULATOR This is mounted on side 2 with the two metal securing lugs through the board and soldered on side 1. The +5 volt and input signal wires are soldered into the two holes indicated on the board beside the modulator. VOLTAGE REGULATOR Both regulators and a heatsink should be fitted to all ATOMs. The first regulator is fitted as shown: Voltage Regulator Bend the leads taking care not to break them off as they enter the body of the device. Fit the second regulator in an identical manner, and then slide the heatsink between the regulators and the PCB. Screw down the regulatcrs with the nuts and screws supplied, taking care that they do not short out the adjacent tracks on the PCB, and then solder the leads on side 1 of the board. Cut off any excess lead. CRYSTALS The two crystals for the ATOM stand upright about a quarter of an inch above side 2 of the board. If necessary bend the leads so that they pass through the holes at positions Xl (3.58M) and i2 '4.00M). Take 11
care not to break off the lead where it enters the crystal and check that the metal can does not short to any adjacent components. TRANSISTORS Two transistors, Ql and Q2, are fitted taking care that they are oriented as on the circuit board legend. INTEGRATED CIRCUITS These may now be fitted in their sockets. Pin 1 of each device is identified by either a semi-circle or a dot as shown: IC pin 1 Devices which are liable to damage by static electricity will be supplied in anti-static packing and they should not be rennved from this until required for insertion into their sockets. Identify each device from the parts list and plug it into the appropriate socket. If the pins on the IC are splayed out, press them all in together as shown until the device fits easily into the socket: IC pin alignment Take great care that no IC pins get bent under the IC when inserting and ensure that all of the ICs are correctly aligned with pin 1 in the right place. If available, more 2114s may be fitted in positions IC 10 to 19 and 32 to 41 as described in the extensions sections. FITTING THE CASE After checking that all soldering on side 1 is satisfactory the circuit board may be fitted in the case. If any extension kits are available they may be fitted as described in the relevant sections of this manual. Take the top of the case, that is the piece with the cut-out for the key-board, and lay it down with the pillars and screw holes facing upwards. The assembled circuit board should be placed over the case with the component side 2 upwards. Screw, but do not tighten, four self-tapping screws into the four corner mounting pillars in the case thus lightly holding the board in the case. Move the board in the case so that all the keys clear the edges of the cut-out in the top and then tighten up the four screws The bottom of the case is next placed over the circuit board and moved so that it lines up with the top. If the connectors do not then appear centrally in the cut-outs on the rear of the case bottom some adjustment of the position of the board in the top of the case may be required. Finally put two long self-tapping screws into the holes in the case bottom and fix the bottom to the top by tightening them up. Four self adhesive feet may be stuck to the bottom of the case and 12
the surround for the keys is stuck to the top of case when its backing is peeled off revealing a layer of adhesivei. T.V./VIDEO MONITOR The ATOM screen display may be on a dorrestic =eievision or a video monitor. To connect to a domestic television use the phono to co-axial connecting lead supplied. The phono pl¿q goes into SK1 (the modulator output) and the other end of the lead goes to the aerial socket of the television. If the television has a graduated tuning scale, set it to channel 36. A 1 volt into 75 ohm composite video signal for monitors is available on pin 9 of PL4 with a corresponding 0 volt return on pin 10. These are indicated on the fallowing diagram. Composite video out The normal ATOM produces a monochrome picture, even if a colour television or monitor is used. The PAL encoder circuit board can be fitted inside the case to give a colour picture. POWER SUPPLY The basic ATOM requires a power source of 8 volts DC which is regulated on the circuit board by IC53 and IC54 to produce a stabilised 5 volts. The ATOM high-efficiency mains adaptor provides such a source, and it is fitted with a jack plug for connecting to the ATOM. The high-efficiency mains adapter is capable of delivering up to 1600 mA and powering a fully-expanded ATOM using the low-power mennry that is currently supplied. This current is obtained as follows: Minimal system 2K RAM 750 mA 10K expansion memory at 75 mA per K 750 mA Bus buffers and 6522 VIA 100 mA Note that ATONs supplied before October 1980 used normal-power RAM memory devices which have a current consumption of 100 mA per K; the total current consumption of a fully-expanded ATOw usinq normal-power memory is therefore too great for the ATOM mains adapter. REGULATED SUPPLY The ATOM may alternatively be powered by a 5v regulated supply. In this case two links, LK6 and LK7, should be fitted to the board. The power distribution on the board is normally separated into two sections; one for each regulator. These sections should be joined together by fitting a link at LK6 on the circuit board. The regulators should be bypassed by fitting link LK7 on the board. The power socket, SK3, is now for a stabilised 5 volt input and the mains adaptor must NOT be plugged into it. This fa=t should be rarked clearly on a label attached near the power socket on the back of the ATOM. A circuit far providing a stabilised 5 volts at up to 3000 mA 13
capable of powering a fully expanded ATOM together with any Acorn eurocard is given here: 5 volt power supply SWITCHING ON When the T.V. or monitor is connected the power connector may be inserted into SK3. The ATOM is now on. Press the break key to reset the ATOM; the screen should now show: ACORN ATOM >cursor block (black) At this stage if a television is being used it should be tuned until a display is found. Both monitors and televisions may now require adjustment of the vertical hold control. After further fine tuning in the case of the television to obtain a sharp display, the brilliance control should be set so that the background is slightly grey rather than black. The contrast control is then adjusted to make the characters as bright as reiquired. If no display is found check that all the connections are correct and in the case of ATOMs assembled from kits check that the construction procedure has been followed correctly. when the display on the screen is correct refer to the book 'Atomic Theory and Practice' for details of how to program the ATOM. TAPE RECORDER Programs or data may be stored on standard audio tape using a domestic tape or cassette recorder. The ATOM contains a Computer Users Tape Standard (CUTS) interface, and connection to the recorder is by a 3 pin D.I.N. plug in SK2. Pin 1 is the output to the recorder, pin 2 is the 0 volt or common connection, and pin 3 is the input to the ATOM 14
from the recorder. These are shown in the diagrarr: Tape recorder DIN plug Only a 3 pin lead should be used as the other 4 pins of SK2 carry digital outputs which may damage recorders with 5 or 7 pin connectors. Both recording and playback on the ATOM are crystal controlled and, except on very cheap recorders whose speed may vary, no trcuble should be experienced when transferring tapes from one ATOM to another. The use of recorders with an input and output dedicated to connection to an external amplifier is recommended as opposed to those with only microphone and earpiece facilities; however good results should be obtained with most machines. The setting up of the recorder using a test program is described on page 8 of the book 'Atomic Theory and Practice'. Should correct results not be obtained the signal levels may require adjustment. Both the input and output are normally set to a level of 300 mV R.M.S. The output can be adjusted by changinq the value of R29 so that the recorder's VU meter reads 70% on recording (20% = -3dB). The gain of the input amplifier on the ATOM may be changed by altering R34; hi-fi cassette decks are generally more sensitive and often require that this resistor is changed from 47K to 220K. OUTPUT PORTS Pins 4,5,6 and 7 of SK2 carry bits 1,2,0 and 3 respectively of part C of the INS8255 (address B002). These are normally set to output mode and they will drive a standard TTL load. Bits 0 and 1 also drive the tape interface, bit 2 bleeps the loudspeaker, and bit 3 selects between the two possible sets of four colours. Refer to the book 'Atomic Theory and Practice' for further details. 15
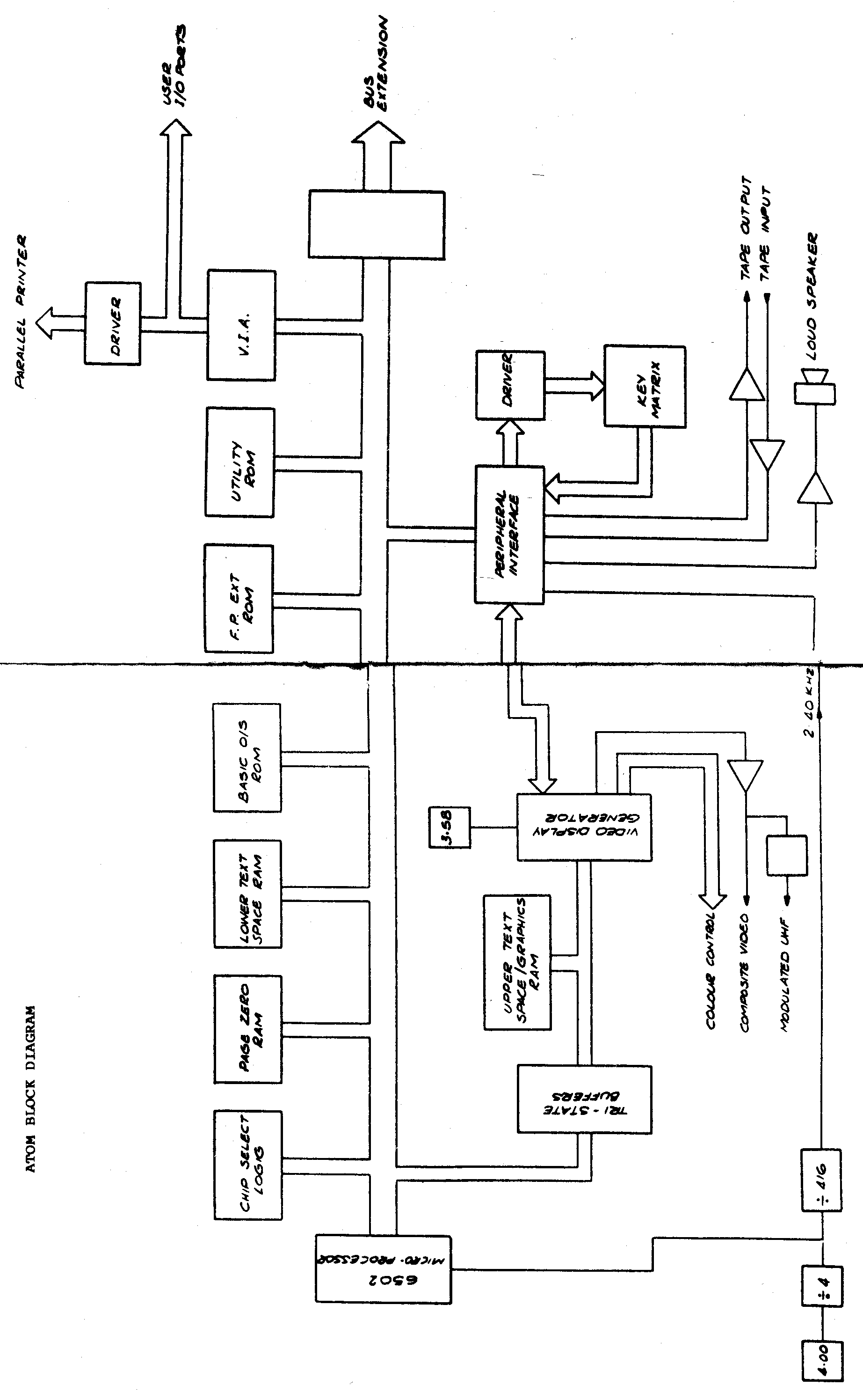
CIRCUIT DESCRIPTION The block diagram of the ATOM shows the essential elements of a micro-computer system. The 6502 micro-processor is provided with a 1 NHz clock with which all action on its bus is synchronised. The bus has 8 data connections which allow data to be transferred from the processor to other devices or vice-versa. 16 address lines select the location to which or from which data is transferred; the most significant lines feed the chip select logic which selects the device being accessed whilst the rest of the lines select the location within the device. The reset signal at break or power up causes the processor to fetch instructions down the data bus from the Operating System/BASIC ROM (Read Only Memory). Executing these instructions sets up the screen and scans the keys, and when BASIC statements are entered more instructions in the ROM interpret the statements and communicate with the screen, tape interface etc. using routines in the O.S. section of the ROM. The block zero RAM (Random Access Memory), from 40000 to 00400, is used by the processor for scratch pad and stack menory. This RAM should not normally be accessed by the user. The user RAM, that is the space in which lines of BASIC text are stored, can be the lower text space or, as in the unexpanded ATOM, the upper text space or graphics space may be used. A Video Display Generator (VDG) produces synchronisation signals for the television or monitor picture scan in time with a series of refresh addresses which fetch data for the screen from the video RAM. The screen is "memory mapped"; each dot on the screen shows the information in a corresponding piece of memory. Normally only the VDG accesses the video RAM obtaining information with which to refresh the screen. When the information on the screen is to be changed the tri-state buffers are enabled allowing the processor to write new data into the RAM. The VDG is fed with a 3.58 NHz frequency from which the sync and refresh timing is derived. Both monochrome and colour information are prado'."ed by ihe VDG. In the most basic ATOM the 1024 by 8 (that is 1 Kbyte) video RAN is divided into two sections. Half of the RAN is used for video so that a screen full of normal characters can be stored and the rest is used for the upper text space. Extended ATONs will normally have RAM in the lower text space position and so the original video RAM together with the extension video RAM is used to provide the higer resolution graphics modes. Another device on the bus is a peripheral interface which provides 24 input and output signal lines. Some of these lines are used to control the VDG and one in particular is a signal from the VDG indicating the vertical blanking period of the screen. During this period the processor can enable the tri-state buffers and access the video RAN without producing interference on the screen. This signal also provides the timinq for the WAIT statement. The INS8255 PIA interfaces with the ATOM keyboard in which the keys are arranged in a matrix. A 4 to 10 line decoder-driver is driven by the peripheral interface and its 10 outputs drive each row of the key matrix in turn. The peripheral interface is used to read the outputs from the columns of the key matrix as each input is driven and so the matrix position of any depressed key is determined. A Computer Users Tape Standard interface is also connected via the peripheral interface. This standard saves data or programs on tape as a sequence of two different tones . A logical 1 signal is represented by a frequency of 2.4 KHz whilst logical 0 is a 1.2 KHz frequency. Each bit, that is 0 or 1, lasts for 3.3 mS giving an operating speed of 300 bits per second. The 2.4 KHz standard is derived from the 4 MHz 16
crystal with a frequency divider chain and it is fed to the peripheral interface and the tape output. The input from the tape recorder passes through an amplifier and a schmidt trigger before being fed into peripheral interface. Another line from the peripheral interface is used to drive the loudspeaker. Two more ROMs may be fitted in the ATOM. One contains instructios is for interpreting additional BASIC statements which deal with floating point numbers, scientific functions and colour graphics. The other ROM can provide extra utilities, such as programs to deal with serial interfaces to the ATOM, abaci the comunications ring An optional Versatile Interface Adaptor (VIA) may be fitted giving input or output lines allowing the ATOM to interface to external hardware. Also a driver device can be added allowing the VIA to connect to parallel printers of the Centronics type. Finally a set of bus buffers may be added allowing the ATOM bus to connect to external devices such as extension RAM floppy disc drives etc. 17
ATOM BLOCK DIAGRAM 18 19
ATOM MEMORY MAP FFFF Top of memory X X X F000 ROM MM52164 IC20 X E000 Reserved -Disk Operating System X X D000 ROM MM52132 IC21 X X X C000 ROM MM52164 IC20 X X BC00 Empty X B800 VIA 6522 IC1 X B400 Extension PL8 X B000 PPI INS8255 IC25 X X X A000 ROM MN52132 IC24 X X 9800 Empty X 9400 RAM 2114 ICs 32&33 X 9000 RAM 2114 ICs 34&35 X 8C0O RAM 2114 ICs 36&37 X 8800 RAM 2114 ICs 38&39 X 8400 RAM 2114 ICs 40&41 X 8000 RAM 2114 ICs 42&43 X 3C00 For RAM expansion off board 3800 RAM 2114 ICs 18&19 X 3400 RAM 2114 ICs 16&17 X 3000 RAM 2114 ICs 14&15 X 2C00 RAM 2114 ICs 12&13 X 2800 RAM 2114 ICs 10&ll X 0400 Reserved for Eurocards 0000 RAM 2114 ICs 51&52 X Any memory access to an address indicated by an x will cause IC 5 to generate an 'on card' signal, and disable the off card address and data bus buffers. 20
EXPANDING THE ATOM OPENING THE CASE In order to add any of the ATOM extensions it is necessary to open the case. Unnlug the ATOM power connector before taking the case apart. Under the case two screws are undone to remove the case bottom allowing access to the component side 2 of the circuit board. When it is necessary to solder in extra ’.C. sockets the board is removed from the top of the case by undoing the screws at each corner of the board. The case is assembled as described in the Construction Procedure. LOWER TEXT SPACE EXTENSION The first extension usually required is more RAM for BASIC text space. The unexpanded ATOM has 1024 bytes (1Kbyte) of RAM provided by ICs 42 and 43 of which 512 bytes is the upper text space and 512 bytes is the video RAM. Every time the ATOM is powered up or reset it automatically checks to see if there is RAM in the lower text space and uses it for programs if pre-ent; otherwise it defaults to the upper text space. Each 1024 bytes of RAM is provided by two 2114-Ls and these must be added in pairs. Each pair of 2114-Ls will provide text space for about 64 lines of BASIC. To use the lower text space IC6 must be fitted; this is a 74LS138 in a 16 pin socket. ICs 10 to 19 provide for up to 5 Kbytes of space and they must be added in the order 10 and 11, 12 and 13, 14 and 15 etc. They are all 2114-L types and they require 18 pin sockets.The memory addresses contained by each pair of ICs are as follows: ICs 10 and 11 #2800 to #2BFF. ICs 12 and 13 #2C00 to #2FFF. ICs 14 and 15 #3000 to #33FF. ICs 16 and 17 #3400 to #37FF. ICs 18 and 19 #3800 to #3BFF. The # sign above indicates a hexadecimal number, #400 = 1024 bytes. Each 2114-L consumes around 35mA, so an ATOM with the full 5K of lower text space will require about 1125mA. VIDEO GRAPHICS EXTENSION More graphics RAM can be added increasing the screen resolution and allowing the use of the higher graphics modes. These modes are described in the book 'Atomic Theory and Practice' and they each require different amounts of video RAM provided by fitting pairs of 2114-Ls as follows: ICs 42 and 43 1024 bytes = 1 KByte. ICs 40 to 43 2048 bytes = 2 KByte. ICs 38 to 43 3072 bytes = 3 KByte. ICs 32 to 43 6144 bytes = 6 KByte. If only ICs 42 and 43 are in use the fitting of IC30 is optional. When IC30 is not present a wire link, LK1 on side 2, must be soldered on the circuit board. IC30 is a 74LS138 in a 16 pin socket and when it is fitted the wire link must be cut or removed, ICs 32 to 41 may then be added. The address locations provided by each pair of 2114-Ls are as follows: 21
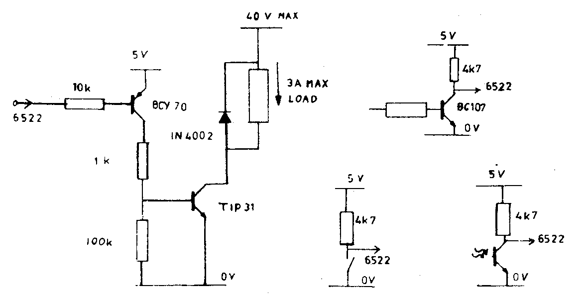
ICs 42 and 43 #8000 to #83FF. ICs 40 and 41 #8400 to #87FF. ICs 38 and 39 #8800 to #8BFF. ICs 36 and 37 #8C00 to #8FFF. ICs 34 and 35 #9000 to #93FF. ICs 32 and 33 #9400 to #97FF. Each 2114-L consumes about 35mA and so ATOMs with a 5 Kbyte lower text space and the 5 Kbyte video RAM extension (i.e. a total video RAM of 6 Kbytes) will require an 1500mA supply. FLOATING-POINT EXTENSION A Read Only Memory containing the floating point, scientific functions, and colour routines may be added to the ATOM. This ROM goes in position IC21 on the circuit board using a 24 pin socket and the extra current consumption is negligible. VERSATILE INTERFACE ADAPTOR The V A is a 6522 device requiring a 40 pin socket and fitted in the ICl position. It provides two input/output ports each having 8 data bits and 2 control lines. These lin - appear on the 64 way connector, PL6, which is of the Vero 17-3704L type and the pin numbers are given on the circuit diagram. The base address of the VIA is 09800 and a description of how to operate it is in the book 'Atomic Theory and Practice'. It will be necessary to remove the circuit board from the case in order to fit the 64 way conn.actor on sid¿ ?. Each interface pin of the 6522 can drive one standard TTL load, that is it can sink 1.6mA down to 0.4V and it can source 100uA into 2.4V. In input mode each pin presenie one standaia TTL load. The circuits below show how the 6522 can drive a lamp or relay and how it can sense the state of a switch or transistor. Other circuits may be more suitable for some applications, these are only suggestions: 6522 driver applications In some applications the 6522 may need to interrupt the processor in which case the wire link LK2 is required which connects the interrupt line to IRQ (or NMI). The 6522 requires an extra 50mA from the power supply plus any current it sources into external loads. 22
PRINTER INTERFACE The ATOM can drive a parallel printer of the Centronics type when 6522 is fitted in position IC1 and a 74LS244 is in position IC50 64 way connector as not required as the printer connects to PL5 which, as a 26 way header, 3M type 3429-1302 A mating ribbon cable socket for this is part number 3399-6000. Note that one port of the 6522 is now used by the printer and no no longer available for user I/O. The printer connector pin numbers and signal names are shown on the circuit diagram and when flat ribbon cable is used the wires are in the right order for connection to the 25 way E connector usually used on printers BUS BUFFERS When the 64 way connector PL6 is fitted the standard Acorn bus appears on this connector. Using thas extra memory or interface cards may be added ICs 2,3,4 and 5 muai be fatted to the ATOM 1n order to use the ICs 2 and 3 are 81LS95s which buffer the address bus and IC4 is a DP8304 (equa.valent to IRS8208) who.eh a.s a br-dwect¿onal buffer. IC5 74LS30 which determines whether the address being accessed is inside the ATOM or on the other side of the buffer. The buffer, IC4, is only enabled for addresses outside the ATOM so that bus conflicts do not occur. The addresses for which the buffer is enabled are: #0400 to #27FF #3COO to #7FFF #E000 to #EFFF If IC6 is not fitted addresses #2800 to #3BFF also enable the buffer and the lower text space as then outside the ATOM so that an external memory card may be used. EUROCARD EXTENSION Any one of the Acorn Eurocards can be fitted inside the ATOM case and connected to PL7 which carries the Acorn bus in parallel with PL6. The bus buffers must be fitted in order to use PL7. OTHER EXTENSIONS PL8 is a 20 way plug to which other extension boards may be fitted via a 20 way ribbon socket Resident software for other extensions can be in the utilities ROM, IC24 Normally PL8 is fitted to side 1 of the circuit board and its pin connections are as follows: 20 NRST 19 IRQ 18 R/NW 17 1MHz 16 A2 15 A3 14 A0 13 D7 12 A1 11 0 volts 10 +5 volts 9 NMI 8 D0 7 D3 6 D2 5 D1 4 NB400 3 D4 2 D5 1 D6 LK3 is made in order to connect IRQ from PLS to the 6S02. NB400 is an active low enable signal for the address range #B400 Co #B7FF and it comes from IC49 pin 5. 23